BLANCO 523136 Robinet Fontas II Silgranit-look tartufo | Démos trade, a.s...
Masquer l'assortiment Assortiment
Contacts

BLANCO 523136 Robinet Fontas II Silgranit-look tartufo

Code d'assortiment 358388
Prix ​​de base pour pcs
420,43 EUR 508,72 EUR TTC
Sur commande
Acheter
Marque
Blanco
Code de groupe
109002
Unité (MJ)
pcs
Extensibilité
1 pcs
Emballage
1 pcs
Description et paramètres

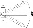
Blanco robinet 523136
FONTAS II tartufo silgranit®-look

Délai de livraison sous 8 jours, si l'article est en stock chez le fournisseur. Dans le cas contraire, livraison sous 4 semaines.
Vous pouvez vérifier la disponibilité sur le site web du fournisseur en saisissant le code a six chiffres dans le nom de l'article (Blanco 523136) dans le moteur de recherche ici :

Ancor CZ importateur exclusif des évier et robinetterie de marque BLANCO d'Allemagne

Paramètres

Paramètre Valeur
Couleur Tartufo
Forme du mitigeur L.
Type de pile Pression

Derniers articles consultés